快速式燃气热水器根据不同分类,其构造也不相同。但气阀、喷嘴、燃烧器、热交换器、点火器、控制电路等都是不可缺少的部件,有的还得加上水流开关或水量传感器以及一些安全装置。如果是强制排气式热水器,还要加上风机及风扇等。下面分别就气阀、喷嘴、燃烧器、热交换器、点火器、水流开关及水量传感器、控制电路、安全装置等作些说明。

一、燃气热水器的基本构造
1、气阀组件
气阀是控制燃气是否进入并调节燃气量多少的重要部件。根据燃气热水器国家标准的规定:“在通往燃烧器的任一燃气通路上,应设置不少于两道可关闭的阀门,两道阀门的功能应是互相独立的”。因此,一般都采用一只主气阀(起开关作用)及至少一只控制阀(调节燃气量)组成。控制阀可以是手动控制的多个电磁气阀组件,也可以是自动控制的燃气比例阀。

2、喷嘴组件
喷嘴是燃气从气阀通往燃烧器的关口。由于这里燃气通路突然变小且与大气相通,在供给压力作用下燃气将喷向燃烧器。根据燃气种类及压力等来决定喷嘴个数。当然。与灶具不同的是燃气热水器的喷嘴是以组件形式出现的。
将加工好的若干个喷嘴拧到喷嘴座上,组成一个喷嘴组件般。一般10L左右的热水器,喷嘴的数量从几个到十几个不等。但16L以上容量的热水器,一般就不采用这种结构形式。而是采用将喷嘴及喷嘴座做成一体的结构,喷嘴也是一次加工成型的,喷嘴的数量在30个左右。

3、燃烧器组件
燃气热水器的燃烧器(通常习惯称为火排)一般都采用薄形缝隙式的结构,虽然它的形状与灶具燃烧器不大一样,但其工作原理却是一样的。热水器的燃烧器都以组件形式出现,它由几个到几十个燃烧器组成。
燃烧器个数的多少决定于产热水能力和燃烧器本身的尺寸,最主要的是要保证在最大热负荷状态下(即我们平时所理解的燃气控制阀全部打开且全部开至最大时的状态),热水器的出热水量应达到所标定的产热水能力。

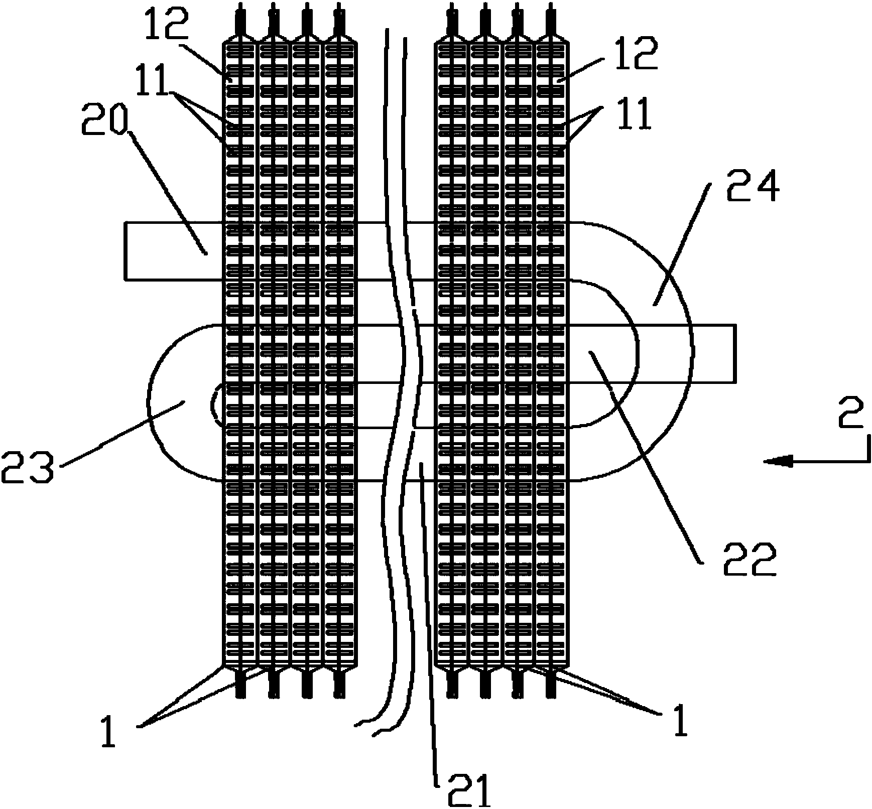
4、热交换器
热交换器是将燃气的热量转换为热水的热量的重要部件。
热交换器由几十片平行排列的翅片组成翅片一般都用传热性能好的紫铜材料制作,加热水管从中来回穿越数次。工作时,翅片中的温度可超过1000℃。在这高温下,瞬间连续将自来水加热成热水。一般根据燃气气种不同,翅片的间距会有不同。液化石油气及天然气用的热交换器的翅片间距较窄,人工燃气用的热交换器的翅片间距较宽,这是考虑到人工燃气的烟气容易在翅片处积炭。

二、唐家热水器的CO、CH4双气体防控自排四步骤
1、监控
24联机防控自排模块,全天候24小时检测室内CO、CH4浓度,并向“安全芯”智能中枢实时反馈。

2、快速指令
当CO、CH4浓度达到200ppm时,安全芯即时指令变速风机开启,无需报警,避免隐患发生。

3、清扫
由安全芯发出的风机指令,变速风机快速抽排室内有害气体。

4、待机
当变速风机运作一段时间后,检测系统比较室内有害气体浓度低于安全值,且自排达到安全值时,风机自动停止,热水器再次进入待机状态,恢复室内安全环境。

唐家热水器速热效果好,蓄水空间大,满足家庭沐浴出水的需求,细心呵护您和家人的健康!